We proudly present: Das Patent des Monats
Kuriose Patente am laufenden Band
Patente gibt es wie Sand am Meer. In unserer wieder aufgelegten Reihe „Patent des Monats“ * graben wir tief in unseren Archiven. Je ungewöhnlicher und spezieller, desto besser. Natürlich sind wahre und gute Innovationen, die Techniken oder Handgriffe verbessern, wichtige und zukunftsweisende Errungenschaften. Aber mal ehrlich, zur kleinen Auflockerung zwischendurch darf es auch ab und an etwas Außergewöhnliches zum Schmunzeln sein. Mit einem kleinen Augenzwinkern suchen wir für Sie jeden Monat ein amüsantes Patent-Highlight aus unserer Sammlung heraus.
Haben Sie Lust auf teils skurrile Patente bekommen? Dann lehnen Sie sich einfach zurück und schmökern Sie in unserer Best-of-Reihe – Sie werden feststellen: Nichts ist unmöglich. Und jeden Monat kommt etwas Neues dazu!
* Bitte beachten Sie, dass es sich bei unseren Patenten des Monats häufig um Patentanmeldungen und Gebrauchsmuster handelt. Diese sind von den Patentämtern nicht geprüft.
Patent des Monats April 2026
Haltung bewahren
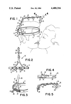
Im Büroalltag neigt man leider oft dazu, den Rücken zu krümmen. Hier kann der „Gürtel zur Haltungsverbesserung und zum Bauchmuskeltraining“ wertvolle Unterstützung leisten. Er überwacht Ihre Haltung durch einen sensiblen Zugsensor und macht Sie durch Vibrationsreize darauf aufmerksam, wenn Ihre Körperspannung nachlässt. Sie erfahren damit eine ständige, aktive Korrektur, die herkömmliche ergonomische Möbel nicht bieten.
Auch für gesundheitlich vorteilhafte Produkte gelten mindestens die Anforderungen der Allgemeinen Produktsicherheitsverordnung (EU) 2023/988. Wenn die Vibrationsreize beispielsweise Übelkeit auslösen, ist das ein No-Go! Der Hersteller sollte zudem bei der Vermarktung des Produkts aufpassen, nicht ungewollt in den Geltungsbereich der Medizinprodukteverordnung (EU) 2017/745 zu rutschen - dann werden die Dokumentations- und Prüfpflichten nämlich um einiges komplizierter...
Patent des Monats März 2026
Erzähl mir (d)eine Geschichte!
Das „Storytelling Device“ erweitert das klassische Geschichtenbuch um interaktive Elemente, wie Geräusche und Lichteffekte. Es wurde darauf geachtet, dass keine starre, lineare Erzählstruktur vorgegeben wird. Im Gegenteil: hier hat der Erzähler unerschöpfliche Möglichkeiten, den Fortgang seiner Geschichte durch das Auslösen verschiedener Effekte selbst zu bestimmen. Dieser kreative Freiraum bedeutet auch, dass der Nutzer aktiv Entscheidungen treffen muss. Er setzt sich dadurch viel emotionaler und motivierter mit seiner Fantasiewelt auseinander.
Aber, aufgepasst – dieses Büchlein fällt unter die Spielzeugsicherheitsrichtlinie 2009/48/EG und als elektrisches Produkt auch unter die RoHS- und EMV-Richtlinie. Es braucht eine CE-Kennzeichnung und muss wegen seiner simplen Bedienung durch Berührungen auch für Kinder unter 3 Jahren sicher sein! Elektrisches Spielzeug für Kleinkinder muss z.B. nach der Norm EN IEC 62115 ein verschraubtes Batteriefach haben, um Verschluckrisiken zu vermeiden. Also, liebe Eltern: Wenn das Kind schreit und das Buch schweigt, dann am besten mal aufschrauben und die Batterie wechseln.
Patent des Monats Februar 2026
Rettung rollt an
Brandschützern gilt der größte Respekt! Nicht selten bringen sie sich selbst in Gefahr, um in Notsituationen zu helfen. Sie kämpfen sich in brennenden Gebäuden mit sperriger Ausrüstung zur Brandursache vor und müssen in den schlimmsten Fällen feststellen, dass der Wasserschlauch nicht lang genug ist, um das Feuer zu löschen. Hier wäre der kleine, leichte „Fire Extinguishing Ball“ die ideale Ergänzung zum Standard-Equipment. Er wird an die Stellen gerollt, die für Mensch und Wasserstrahl unerreichbar sind und versprüht dort sein Löschmittel. Durch sein Ventil ist er sogar wieder auffüllbar und somit auch im nächsten Einsatz wieder ein zuverlässiger Kamerad.
Übrigens: Dieser Ball wird vermutlich unter die Druckgeräterichtlinie 2014/68/EU fallen, wie auch tragbare Feuerlöscher. Schauen Sie doch mal nach, ob die in Ihrem Treppenhaus ein CE-Kennzeichnung haben. Das Material des Balls muss z.B. stark genug sein, dass der Druckbehälter nicht unverhofft explodiert und seiner optischen Ähnlichkeit zu einer Handgranate unbeabsichtigt alle Ehre macht – auch wenn die anschließende Schaumparty Spaß versprechen mag.
Patent des Monats Januar 2026
Hier wird niemand hängen gelassen
Verlässliche Orientierungshilfen spielen vor allem für Menschen mit Behinderung eine große Rolle. Diese Kleiderbügel mit integrierten Tages- bzw. Datumsmarkern in Braille-Schrift bringen Ordnung und System in den Kleiderschrank. So können auch blinde Personen Ihre Outfits für bestimmte Anlässe oder Wochentage eigenständig vorbereiten. Das Design sieht außerdem einen speziellen Verriegelungsmechanismus vor. Im geschlossenen Zustand umschließt der Haken die Kleiderstange vollständig, sodass der Bügel nicht versehentlich herunterfallen kann. Wir finden: eine fanTASTische Idee!
Übrigens: Ist Ihnen schon mal aufgefallen, dass die Metallspitze der Kleiderbügelhaken heutzutage oft abgerundet ist? Das geht auf die Allgemeine Produktsicherheitsverordnung (EU) 2023/988 zurück. Diese einfache Maßnahme schützt Ihre Kleidung vor unschönen Rissen und Ihre Haut vor schmerzhaften Schrammen.
Und wussten Sie, dass viele barrierefreie Produkte und Dienstleistungen CE-kennzeichnungspflichtig sind? Das schreibt der European Accessibility Act (EU) 2019/882 beispielsweise für inklusiv gestaltete elektronische Geräte, wie Computer, Tablets und Geldautomaten vor. Dieser Text ist auch barrierefrei. Lassen Sie ihn sich einfach von unserer Homepage vorlesen!
Patent des Monats Dezember 2025
Bussi to go
Mit dem „Mistletoe Supporting Headband“ sind Sie garantiert ein Hingucker auf der nächsten Weihnachtsparty oder sogar schon auf dem Weg dorthin. Diese einfache Konstruktion besteht im Wesentlichen aus drei Teilen. Das Kopfband lässt sich an den individuellen Kopfumfang des Trägers anpassen. Daran ist ein weihnachtlich dekorierter Bügel befestigt, der über den Kopf nach vorne zeigt und eine kleine Aussparung aufweist. Bei Bedarf wird dort nun ein frischer Mistelzweig befestigt. Aber Vorsicht! Geht man nach alter englischer Tradition, wird mit jedem Kuss eine der weißen Beere vom Zweig gepflückt. Ist keine mehr übrig, darf auch nicht mehr geküsst werden. Teilen Sie sich Ihren Vorrat also gut ein!
Ach ja – bei aller Romantik sei noch erwähnt, dass dieses Produkt der EU-Produktsicherheitsverordnung (EU) 2023/988 entsprechen muss. Wenn ein nach oben oder unten stehender Mistelzweig plötzlich im Auge des angehimmelten Partners oder der Partnerin landet, wäre nicht nur das Flirten schnell vorbei. Auch der Hersteller dieses Produkts dürfte mit der unangenehmen Frage konfrontiert werden, weshalb dieses Risiko nicht konstruktiv ausgeschlossen wurde. Und nein – „aus Sicherheitsgründen bitte nur Personen mit maximal 10cm Größenunterschied küssen“ würde als Warnhinweis vermutlich nicht ausreichen…
Patent des Monats November 2025
Zusammen(k)lauben leicht gemacht
Im November erledigt man die letzten Gartenarbeiten vor dem Winter: Stauden und Obstbäume zurückschneiden, Spätgemüse ernten und Laub von Rasenflächen entfernen. Für letzteres benötigt man entweder Gerätschaften wie Rechen und Laubsauger oder man benutzt für kleinere Mengen einfach Hände und Füße. Mit der „Leaf Gathering Trousers“ brauchen Sie weder Hilfsmittel, noch müssen Sie sich zum Sammeln bücken. Nachdem Sie sich die Hose mit Netz zwischen den Beinen angezogen haben, genügt es, im Garten umherzulaufen. Die Blätter nehmen Sie dabei ganz einfach mit.
Übrigens: So (un-)praktisch das Ganze auch klingen mag, muss eine solche Hose die Anforderungen der Allgemeinen Produktsicherheitsverordnung (EU) 2023/988 erfüllen und eine gewisse Ergonomie bieten. Wenn der Sammler beim Arbeiten ständig ins Straucheln gerät und in seinen eigenen Laubhaufen fällt, kann von einem „sicheren Produkt“ nicht die Rede sein.
Patent des Monats Oktober 2025
Brezen vom Band
Brezn, Breze, Brezel, Bretzel – das traditionsreiche geschlungene Laugengebäck hat viele Schreibweisen und eine riesige Fangemeinde. Heutzutage werden die Teiglinge nur noch sehr selten durch einen geschickten Handgriff in ihre Form gebracht. Die automatisierte „Brezelschlingeinrichtung“ übernimmt diese Aufgabe in großem Stil. Sie besteht im Wesentlichen aus zwei unterschiedlich breiten Förderbändern und einem rotierenden Bauteil, das für den typischen Knoten sorgt. Vom ersten, schmalen Förderer hängen die Teig-Enden herunter und passieren das darunter befindliche Schlingelement. Das zweite, breitere Transportband nimmt danach zuerst die verdrehten „Ärmchen“ auf, bevor der Brezen-Bauch am Ende des ersten Förderbandes nach unten abgeworfen wird. Was für eine ausgeFALLene Technik!
Wussten Sie übrigens, dass dieser Automat gemäß der Maschinenrichtlinie 2006/42/EG für den Anwender, also den Brezelbäcker, einen hohen Sicherheitsstandard haben muss? Die Förderbänder sollen schließlich nur Brezeln fördern und formen und nicht auch noch die Ärmel des Bedieners einziehen und dessen Arme oder sogar den ganzen Bäcker ungewollt in eine Brezelform zwingen. Und selbstverständlich müssen auch Hygieneanforderungen an Nahrungsmittelmaschinen eingehalten werden, zum Beispiel durch Anwendung der harmonisierten Normenreihe EN 1672 (Gestaltungsleitsätze für Nahrungsmittelmaschinen). Bei einer mit Bakterien oder alten Teigresten durchsetzten Brezel hilft schließlich auch die schönste Form und die am besten automatisierte Fertigung nichts.
Patent des Monats September 2025
Sauberer Schotter
Ohne Gleisbett kommt kein Zug von A nach B. Es trägt durch seine Beschaffenheit entscheidend zur Sicherheit, Stabilität und Langlebigkeit der Schienenanlage bei. Mit der Zeit lagern sich jedoch Staub, Abfälle und Bremsabrieb im Schotter ab. Er „verklebt“ und verliert seine Funktionen. Besonders Drainage und Dämpfung werden beeinträchtigt. Hier kommt die Gleisschotterbettungsreinigungsmaschine zum Einsatz. In den Spezial-Wagons des bis zu 400 Meter langen Arbeitszugs werden die Steine wieder fit für ihren wichtigen Einsatz gemacht.
Patent des Monats August 2025
Wohlig warmes Wasser
Heutzutage werden die meisten Aquarienfische in großen Fischfarmen nachgezüchtet. Aber auch wenn sie ihre Heimat nie gesehen haben, brauchen sie ihre spezielle Wohlfühltemperatur, um munter durch das Wasser schwimmen zu können. Dabei kann unser Patent des Monats unterstützen. Die Software speichert dauernd Echtwetterdaten eines beliebigen Standorts auf der Welt. Zur passenden Tageszeit lässt sie die zugehörige Steuereinheit die entsprechenden Lichtverhältnisse und Wassertemperaturen einstellen. Mit dem richtigen Zusatzequipment wäre sogar noch eine Niederschlagssimulation möglich.
Patent des Monats Juli 2025
Haarleluja!
Wir präsentieren Ihnen eine Kombination aus zwei Haarpflege-Geräten mit ganz besonderem CharaktHAIR. Während Sie sich eine kleine Auszeit gönnen, reinigt die Haar-Waschmaschine Ihren Schopf mit Shampoo, pflegt ihn mit Conditioner und spült alles wieder sorgfältig aus. Anschließend kümmern Sie sich mithilfe des Haartrockners um Ihr Styling. Die warme Luft gelangt von der Basis-Einheit über zwei Schläuche in die Handschuhe, mit denen Sie sich die Kopfhaut massieren und Ihre Frisur in Form bringen.
zur US-Patentschrift der Haarwaschmaschine
zur US-Patentschrift des Haartrockners
Patent des Monats Juni 2025
Planschen ganz privat
Die Unterflurschwimmhalle wird in den heimischen Garten eingegraben und ist so für Passanten unsichtbar. Durch die modulare Bauweise kann die Länge des Beckens beliebig festgelegt werden – je nach Gegebenheiten des Grundstücks und Budget. Über den Keller des Hauses kommt man zuerst in eine Schleuse, dann in den Vorraum mit Ruhebereich und Dusche. Schließlich gelangt man zum Schwimmbecken, in dem man völlig jahreszeitunabhängig und geschützt vor Blicken seine Bahnen ziehen kann. Wir wünschen „Gut Nass!“
Patent des Monats Mai 2025
Schälen und schlemmen
Die Spargel-Saison ist kurz und jeder, der das Frühlingsgemüse liebt, versucht so viele Köstlichkeiten wie möglich damit zuzubereiten. Leider kommt vor dem Schlemmen aber erst einmal das Schälen. Unser Patent des Monats Mai verspricht, dass diese unangenehme Arbeit nun doppelt so schnell „von der Hand geht“. Dieses zangenförmige Küchengerät besitzt nämlich gleich zwei Klingen, die bei jedem Schnitt ebenso viele Streifen der Schale abnehmen. So zaubern Sie Ihre Lieblingsgerichte in Windeseile auf den Teller. Guten Appetit!
Patent des Monats April 2025
Magnet-Magie
Die Scherz- und Zauberschildkröte scheint sich auf magische Weise von allein zu bewegen. Schiebt man den Führungsmagneten unter einer dünnen Platte umher, läuft ihm das kleine Reptil dank eines zweiten Magneten im Panzer und dessen Anziehungskraft hinterher. Diese einfache Lösung schafft einen überraschenden Effekt und ist darüber hinaus auch noch weniger störanfällig als Antriebe durch Federwerk oder Kleinmotoren, wie sie von vergleichbaren Spielzeugen bekannt sind.
Patent des Monats März 2025
Feier-Fontäne
Egal ob Sie Geburtstag haben, Ihnen ein neues Rezept gelungen ist, sich die Sonne nach dem Regen wieder blicken lässt oder Ihr Lieblingslied im Radio läuft - es gibt immer einen guten Grund zum Feiern! Oft gehört Konfetti auf Veranstaltungen zur Standardausstattung, um der Feierlaune Ausdruck zu verleihen. Mit unserem Patent des Monats haben Sie Ihr eigenes Gerät zur Verteilung der kleinen bunten Papierschnipsel wortwörtlich „immer bei der Hand“.
Patent des Monats Februar 2025
Zweisamkeit, auch wenn’s schneit
Gehen Sie auch gerne Hand in Hand mit Ihrem Schatz spazieren? Dann haben wir genau das passende Winter-Accessoire für Sie: eine Kombination aus Muff und Handschuh. Durch je eine Stulpe gelangen Ihre Hände in den gemeinsam genutzten Innenraum des Muffs und bleiben dort vor Kälte geschützt. Wenn die Temperaturen wieder steigen und Sie keinen Warmhalter mehr benötigen, lässt sich durch zwei Reißverschlüsse und eine Anpassung am Riemen eine Tasche daraus machen. So haben Sie auch den Rest des Jahres etwas davon.
Patent des Monats Januar 2025
…zum Dahinschmelzen
Sobald die Temperaturen sinken und der erste Schnee fällt, beginnt der Kampf gegen die Glätte. Anfang des 20. Jahrhunderts nutze man dafür unter anderem noch Wärme. An einer Stange wurde ein kleiner zylindrischer Ofen befestigt, von dem die glimmende Kohle in einen langen keilförmigen Behälter gefallen ist. Mithilfe des erhitzten Metalls schmolz man Schnee und Eis einfach weg und niemand musste mehr Angst vorm Ausrutschen haben.
Patent des Monats Dezember 2024
Halbe Sache, doppelte Freude!
Der Christbaum-Hänger besteht aus einem senkrechten Längsträger und darauf angeschweißten flexiblen Zweig-Haltern aus Draht. Am unteren Ende befinden sich zwei einklappbare Füße, die das Hin- und Herschwenken der Konstruktion verhindern. An einer Wand angebracht und mit frischem Tannengrün bestückt, verleiht der halbe Weihnachtsbaum so selbst dem kleinsten Raum eine stimmungsvolle Atmosphäre.
Patent des Monats November 2024:
Heißes Teil gegen kalte Finger
Bei der Arbeit läuft es Ihnen manchmal eiskalt den Rücken hinunter? Dagegen haben wir leider kein Mittel. Dank des Mauspads mit Frostschutz bleibt aber wenigstens Ihre Hand immer schön warm. Ein klassisches Mauspad wird hier um eine Art „Höhle“ erweitert, in der Ihre Hand und die Computermaus Platz haben. Diese Schicht beinhaltet eine Flüssigkeit, die sich erhitzt, wenn das Mauspad per USB-Kabel mit einer Stromquelle verbunden wird.
Patent des Monats Oktober 2024:
Leiter in die Freiheit
Beim Gedanken an Spinnen ist dem ein oder anderen die Angst ins Gesicht geschrieben. Viel schlimmer ist es noch, wenn man ihnen im eigenen Haushalt über den Weg läuft. Wer darauf verzichten will, ihnen in der Badewanne zu begegnen, sie aber dennoch als Mücken- und Fliegenjäger schätzt, braucht eine „Spider Ladder“. Mithilfe dieses elastischen Gummistreifens finden die Achtbeiner von ganz allein wieder aus ihrem weißen, glatten Gefängnis und verschwinden bestimmt gleich wieder in die nächste dunkle Ecke.
Patent des Monats September 2024:
Abgefahrenes Upgrade
Autoscooter sind ein beliebter Anlaufpunkt auf Volksfesten. Manche Besucher ziehen nur gemächliche Runden, rasantere Fahrgäste freuen sich auf Massenkarambolagen. Diese Ausführung sorgt für noch mehr Fahrvergnügen, denn der Betreiber steuert ganz nach seinem Ermessen in den Boden eingelassene Drehscheiben. Je nach Drehrichtung und Geschwindigkeit der Platte kommt es zu Rutsch- oder Schleudereffekten, die den Fahrgästen ein völlig neues, unberechenbares Fahrerlebnis vermitteln.
Patent des Monats August 2024:
Bettenbad
Unser Patent des Monats soll dem Zweck dienen, die Ganzkörperpflege von Bettpatienten effizienter zu gestalten und das Pflegepersonal zu entlasten. Der Patient wird dabei in die portable Badekapsel gelegt, bevor diese mit Wasser befüllt wird. Durch die raue Struktur der Kapselinnenseite und sanften Druck von außen werden die entsprechenden Körperpartien nun gewaschen und massiert. In einem zweiten Schritt folgt das Trocknen von Körper und Kapsel durch das Hindurchströmen warmer Luft.
Patent des Monats Juli 2024:
Ein Korb für alle Fälle
Das Thema „Nachhaltigkeit“ spielt mittlerweile in vielen Bereichen des täglichen Lebens eine große Rolle. Auch während des Strandurlaubs lässt sich ein wertvoller Beitrag leisten! Dieser Strandkorb ist multifunktionell einsetzbar und dient nicht nur als robustes Sitzmöbel, sondern kann in horizontaler Form auch als kleines Boot genutzt werden. Befestigt man Räder oder Kufen an der Außenseite, macht man daraus einen Wagen oder Schlitten. Das Material aus glasfaserverstärkten Kunststoffen macht die Erfindung leicht aber auch extrem witterungsbeständig. Lange Nutzungsdauer garantiert!
Patent des Monats Juni 2024:
Kaffee mit Kick
Wer schätzt nicht eine gute Tasse Kaffee oder Tee am Nachmittag? Bringen Sie mit unserem Patent des Monats etwas „Schwung“ in Ihre kleine Auszeit. Der Tisch ist an beiden Kopfseiten mit einer Aussparung und einer Schwenkstange ausgestattet. An dieser Konstruktion können nun Gießgefäße z.B. für Milch platziert werden. Wer sein Getränk verfeinern möchte, hält nun seine Tasse unter die Ausgießvorrichtung und dreht an der Stange. Wohl bekomms!
Patent des Monats Mai 2024:
Klapp-Kombi
Wir präsentieren den perfekten Begleiter für Ihren nächsten Ausflug. Mit seinem innovativen Design kombiniert dieser Karren die Funktionalität einer klappbaren Bierbankgarnitur mit der Mobilität eines Bollerwagens. In Sekundenschnelle lässt er sich von einem Transportmittel in eine gemütliche Sitzgelegenheit verwandeln – und das ganz ohne Werkzeug! Nach dem Gebrauch wird er wieder auseinandergebaut und wartet platzsparend aufgeräumt auf den Einsatz bei kommenden Outdoor-Abenteuern.
Patent des Monats April 2024:
Schlechtwetter-Retter
Schön drapierte Frisuren und schlechtes Wetter passen einfach nicht zusammen. Aber was kann man tun, um „unbeschadet“ am Ziel anzukommen? Mützen zerstören die Haarpracht und Regenschirme schützen nicht vor Wind. Die Schlechtwetter-Schutzhaube ist da genau das Richtige! Sie wird eng am Kopf getragen, ohne die Haare zu berühren und die Tuchteile zur Befestigung unterm Kinn wärmen die Ohren. Wenn die Sonne wieder hervorschaut, klappt man das fächerförmige Gestell einfach zusammen und verstaut es platzsparend in der Tasche.
Patent des Monats März 2024:
Häschen schwing!
Für Kleinkinder gibt es allerlei Fahrspielzeuge, die nach einem einfachen Prinzip konstruiert sind. Eine Achse des fahrbaren Untersatzes ist durch eine Stange mit einer Figur verbunden, die sich durch das Rollen der Räder z.B. vor und zurück oder auf und ab bewegt. Leider stellt sich hier recht schnell Langeweile ein, denn diese Bewegungsabläufe werden nun ständig wiederholt. Durch das Hinzufügen einer zweiten, schwingenden Figur verdoppeln die Erfinder die Dynamik des Spielzeugs und verlängern damit den Spielspaß.
Patent des Monats Februar 2024:
Immer schön bissfest bleiben
Moderne Garmethoden machen unsere Lebensmittel immer weicher und kräftiges Kauen meist überflüssig. Dadurch fehlt den Muskeln im Mundraum wichtige Auslastung, die Kieferpartien werden schwächer und die Zahngesundheit leidet. Das erkannte Charles G. Purdy bereits 1923 und entwickelte ein simples Trainingsgerät, um die Gesichtsmuskeln zu stärken. Ein Mundstück mit Einkerbungen für die Zähne wird mittels einer Öse an einem elastischen Objekt, wie etwa einer Spirale befestigt. Mit Vor- und Rückwärtsbewegungen des Kopfes, ähnlich denen beim Tauziehen, werden nun alle Bereiche des Mundraumes beansprucht und trainiert.
Patent des Monats Januar 2024:
Helles Köpfchen
Jeder spricht über Nachhaltigkeit und jetzt können Sie sogar beim Bau Ihres nächsten Schneemanns einen kleinen Beitrag dazu leisten. Fortan muss keine Möhre aus der Lebensmittelabteilung mehr als Nase herhalten. Nehmen Sie stattdessen unser Patent des Monats: die wiederverwendbare Leuchtkarotte! Sie besteht aus einem halbtransparenten orange-rötlichen Kunststoff-Gehäuse und kann ein LED-Teelicht aufnehmen. Damit stellt Ihr Schneemann alle anderen in den Schatten!
Der Weg bis hin zu einem Patent läuft im Idealfall so: Man braucht eine Idee, erstellt daraufhin einen Prototyp, informiert sich über die Marktlage und lässt sich anschließend die Erfindung als Schutzrecht patentieren. Bei guten Einfällen steht dem Erfolg dann nichts mehr im Wege. Es gibt eine Vielzahl an Patenten, u. a.: phänomenale, wegweisende, kreative, brauchbare sowie lustige.
Bruno Götz, Projektmanager Technologie | Leitung Patentzentrum Bayern